En el vasto universo de las diferencias entre impresoras, hay dos tecnologías que a menudo generan preguntas son las impresoras láser y las impresoras LED. Aunque comparten similitudes, sus diferencias fundamentales pueden influir significativamente en la elección de la mejor opción para tus necesidades de impresión específicas. Profundicemos en estas diferencias para brindarte una visión más completa.
Entendamos como funciona una impresora láser y una led.
En las impresoras láser el proceso de Impresión es un proceso preciso y eficiente. En primer lugar, un láser se utiliza para cargar eléctricamente un tambor fotosensible presente en la impresora. Este tambor, al estar cargado eléctricamente, atrae partículas de tóner, creando una imagen electrostática. Luego, esta imagen se transfiere al papel y se fusiona mediante calor para obtener la impresión final. La luz láser juega un papel crucial al determinar cómo se carga el tambor fotosensible, lo que define los detalles de la imagen final en la página.
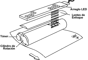
Por otro lado, las impresoras LED simplifican este proceso utilizando una matriz de diodos emisores de luz (LED) en lugar de un láser. En lugar de cargar eléctricamente un tambor fotosensible, la luz LED proyecta directamente la imagen sobre este tambor. Este método elimina la necesidad de movimientos mecánicos complejos asociados con el láser, ofreciendo un enfoque más directo y eficiente para la creación de imágenes en el papel.
En resumen, mientras que las impresoras láser emplean el láser para cargar un tambor fotosensible y generar imágenes electrostáticas en el papel, las impresoras LED utilizan directamente la luz LED para proyectar la imagen sobre el tambor. Ambas tecnologías buscan el mismo objetivo: transformar datos digitales en impresiones físicas, pero difieren en los detalles de cómo logran este proceso fundamental.
Diferencias entre impresoras led y láser.
Tecnología Subyacente
- Impresoras Láser:
- Proceso de Impresión: La base de las impresoras láser implica el uso de un láser para cargar eléctricamente un tambor fotosensible. Este tambor atrae y fija el tóner en el papel.
- Luz Láser: Esencial para este proceso, el láser realiza el dibujo en el tambor fotosensible, determinando lo que se imprimirá en la página.
- Impresoras LED:
- Proceso de Impresión: En lugar de un láser, las impresoras LED utilizan una matriz de diodos emisores de luz (LED) para proyectar directamente la imagen sobre el tambor fotosensible.
- Luz LED: Reemplazando al láser, la luz LED genera la imagen en el tambor sin necesidad de movimientos mecánicos complejos.

Velocidad de Impresión
- Impresoras Láser:
- Ventaja: Tradicionalmente, las láser se han asociado con velocidades de impresión más altas, siendo ideales para entornos de alta demanda.
- Impresoras LED:
- Característica: Aunque las velocidades han mejorado considerablemente, las impresoras LED a menudo ofrecen respuestas más rápidas para impresiones de baja a media demanda, para la alta demanda aún no han alcanzado a las láser.
Tamaño y Diseño
- Impresoras Láser:
- Características: Las láser tienden a ser más grandes y pesadas debido a la necesidad de componentes mecánicos adicionales.
- Impresoras LED:
- Ventaja: Por lo general, presentan un diseño más compacto y liviano al no requerir el mismo nivel de mecanismos internos.
Calidad de Impresión
- Impresoras Láser:
- Calidad Tradicional: Han sido conocidas por proporcionar impresiones de alta calidad, especialmente en entornos profesionales.
- Impresoras LED:
- Mejoras Constantes: A lo largo del tiempo, las impresoras LED han mejorado significativamente en términos de calidad de impresión, compitiendo estrechamente con las láser.
Costos y Mantenimiento
- Impresoras Láser:
- Costos Iniciales: Tradicionalmente, pueden tener un precio inicial más alto.
- Mantenimiento: Algunos modelos pueden requerir costosas reparaciones si el láser falla.
- Impresoras LED:
- Costos Iniciales: Suelen ser más asequibles en términos de precio de compra.
- Mantenimiento: Al tener menos partes móviles, a menudo son más duraderas y requieren menos mantenimiento a lo largo del tiempo.
Conclusión
La elección entre una impresora láser y una LED dependerá de diversos factores. Si buscas velocidades de impresión rápidas y una calidad de impresión excepcional, una láser puede ser la elección adecuada. Sin embargo, si valoras el diseño compacto, costos iniciales más bajos y un mantenimiento más sencillo, una impresora LED podría ser la opción más práctica.
Antes de tomar una decisión, considera la frecuencia de uso, el tipo de documentos que imprimirás y tu presupuesto. Ambas tecnologías ofrecen beneficios notables, y la elección dependerá de encontrar el equilibrio perfecto para tus requisitos individuales. ¡Imprime con confianza y conocimiento!
- Desactivar Actualizaciones Automáticas en tu Impresora HP. Mejor no actualizar tu impresora. - 1 abril, 2025
- Desactivar Actualizaciones Automáticas en tu Impresora Brother . Mejor no actualizar tu impresora. - 21 marzo, 2025
- Cómo degradar el Firmware de Impresoras HP: Instrucciones Paso a Paso - 30 septiembre, 2024

